Главная
»
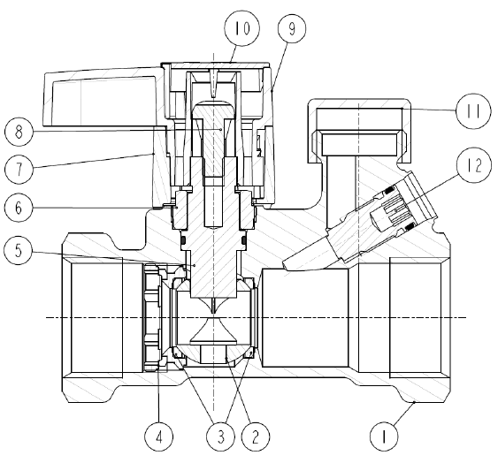
Клапан ручной запорный с внутренней резьбой msv s
Клапан ручной запорный MSV-S 40 Danfoss - купить недорого в интернет ...