Главная
»
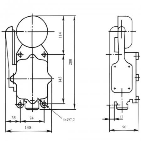
Звонок постоянного тока
ЗВОФ звонок постоянного тока купить по цене 3000 ₽ в Чебоксарах на ...