Электромагнитные преобразователи. Схемы - презе...
дифференциальный датчик давления воды - Sgmls.com
Индуктивные и трансформаторные датчики, Индукти...
Трансформаторные датчики, Теоретические основы ...
Датчики перемещения - презентация онлайн
Датчик дифференциального давления воздуха, датч...
Особенности выполнения дифференциальной защиты ...
Microsoft's Differential Transformer cancels at...
Датчики перепада (разности) давления. Электроко...
Дифференциальный выходной трансформатор - Лампо...
Микро дифференциальный датчик давления/передатч...
differential pressure sensor installation facto...
pressure sensor simulink manufacturer – Датчик ...
Конструкции и применение - Датчики: измерение п...
3.4 Дифференцированная защита трансформатора с ...
Трансформаторный датчик
3.4. Электромагнитные датчики
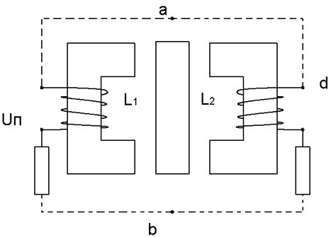
Индуктивный дифференциальный датчик (с измеряем...
Дифференциальные датчики
9.2. Дифференциальная защита трансформаторов
Дифференциальный выходной трансформатор в двухт...
Китай Датчики перепада давления Поставщики, Про...
Дифференциальная защита трансформатора - YouTube
Дифференциальный датчик перепада давления модел...
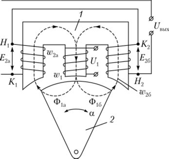
Цифровой датчик угла. - Датчики в системах авто...
Датчик дифференциального давления | CITYRON
Трансформаторные датчики - ТЕХНИЧЕСКИЕ СРЕДСТВА...
Дифференциальный трансформаторный датчик плунже...